继卡格列净后,豪森药业的恩格列净或将迎来上市,成为国内首仿。
日前,据国家药监局官网信息显示,豪森药业提交的4类仿制药恩格列净片上市申请已进入“在审批”阶段。
据了解,恩格列净是一款新型的、口服、高选择性钠-葡萄糖协同转运蛋白2(SGLT-2)抑制剂,SGLT-2抑制剂是一种新型口服降糖药,可以选择性地抑制肾脏近曲小管上皮细胞膜管腔侧的SGLT-2,减少葡萄糖重吸收并促进尿糖排泄(可达80 g/d),进而发挥降低血糖的作用。恩格列净的原研由勃林格殷格翰和礼来共同开发,于2014年5月22日首先获得欧洲药物管理局(EMA)批准上市,又在2014年8月1日获得FDA批准,之后2017年9月27日恩格列净(国内商品名为欧唐静)获原国家食药监总局批准上市。
凭借显著的降糖效果以及心血管获益,自上市以来,恩格列净的销售额快速增长,根据勃林格殷格翰的2019年财报业绩,2019年,恩格列净全球销售额达到21.52亿欧元,此前,有医药市场调研机构预测,恩格列净在2024年的全球销售额将达到35.10亿美元,成为全球最畅销的SGLT-2抑制剂,同时也是全球第三大畅销降糖药。
目前,全球已上市的SGLT-2抑制剂共有八种,其中有三种在国内上市,除了恩格列净,还有强生的卡格列净(商品名为怡可安)和阿斯利康的达格列净(商品名为安达唐),并均已通过谈判形式进入国家医保目录乙类,根据公布的医保证支付标准,达格列净的支付标准为2.56元/5mg、4.3/10mg,恩格列净的医保支付标准为4.24元/10mg。
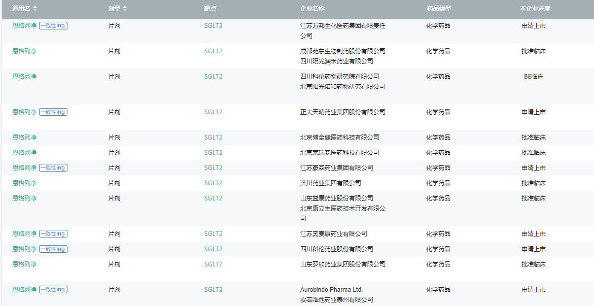
现阶段,国内涉足恩格列净研发布局的企业除了豪森药业,据医药魔方PharmaGO数据库显示,还有正大天晴、罗欣药业、科伦药业、方正医药等十余家企业。
另值得一提的是,就在恩格列净首仿获批之际,另外一款进口SGLT-2抑制剂艾格列净((通用名ertugliflozin,商品名Steglatro))在国内的上市申请也已进入“在审批”阶段,其是由默沙东和辉瑞共同开发,已于2017年12月在美国获批上市,治疗2型糖尿病,是FDA批准的第4款SGLT-2抑制剂。
来源:医谷网
为你推荐
资讯 合成生物企业桦冠生物宣布完成数亿元C轮融资
本轮融资由软银欣创、顺禧基金、常州启航合成生物创投基金、国投创益、长江资本等多家知名机构联合投资,光源资本担任财务顾问,所融资金将重点投向医药与大健康领域新品研发、...
2026-02-04 11:50
资讯 AI制药独角兽深度智耀完成6000万美元新一轮融资,加速全栈式研发解决方案落地
本轮融资吸引了信宸资本、金镒资本、凯泰资本等新投资方入局,老股东鼎晖百孚、新鼎资本持续追加投资
2026-02-03 20:03
资讯 济川药业联合康方生物,共拓心血管创新药商业化新局
伊喜宁®(伊努西单抗注射液)是康方生物自主开发创新的PCSK9单克隆抗体新药,于2024年9月获批上市,用于治疗原发性高胆固醇血症和混合型高脂血症,包括杂合子家族性高胆固醇血...
2026-02-03 19:34
拜耳诺倍戈®第三项适应症在中国获批,用于治疗转移性激素敏感性前列腺癌(mHSPC)
诺倍戈®此前已先后获批用于治疗有高危转移风险的非转移性去势抵抗性前列腺癌(NM-CRPC)成年患者,和联合多西他赛治疗转移性激素敏感性前列腺癌的(mHSPC)成年患者。
2026-02-03 18:42
资讯 又一款老花眼滴眼液获批,市场有待检验
近日,Tenpoint Therapeutics宣布,美国FDA已批准Yuvezzi(carbachol和brimonidine tartrate滴眼液,2 75% 0 1%),用于治疗成人老花眼。
2026-02-02 14:06
资讯 深度缓解数据惊艳:基于诺奖机制的 CELMoD药物如何重塑 MM 治疗逻辑?
近期,国家药品监督管理局药品审评中心(CDE)将CELMoD药物 iberdomide (以下简称:IBER)纳入优先审评名单并启动优先审评程序,拟批准
2026-02-02 13:22
资讯 儿童生长发育专业、儿童营养专业、儿童皮肤疾病专业纳入北京互联网诊疗首诊试点
经研究,同意你委依托首都医科大学附属北京儿童医院和首都医科大学附属首都儿童医学中心开展儿童生长发育专业、儿童营养专业、儿童皮肤疾病专业互联网诊疗首诊试点。
2026-01-31 23:34
资讯 诺和诺德大中国区换帅:周霞萍3月底离任,“老兵”蔡琰接棒
1月30日,全球制药巨头诺和诺德正式对外宣布重大人事变动,其全球高级副总裁兼大中国区总裁周霞萍决定离开公司,最后工作日为2026年3月31日
2026-01-31 17:36
资讯 思璞锐SciBrunch完成超3500万美元Pre-A轮融资,一年内两轮合计募资6500万美元
本次Pre-A轮融资由生物医药领域知名投资机构弘晖基金(HLC)领投,InnoPinnacle Fund跟投,同时获得老股东汉康资本、博远资本、LongRiver江远投资及骊宸投资的持续加码支持。
2026-01-31 17:30
资讯 阿斯利康宣布将于2030年前在华投资逾1000亿元人民币,与石药集团达成超百亿美元战略合作
1月29日,阿斯利康宣布,计划于2030年前在中国投资逾1000亿元人民币(150亿美元),以扩大在药品生产与研发领域的布局。公司将充分发挥中国的科研优势和先进制造能力,并依托中...
2026-01-30 13:00
资讯 从“无差别轰炸”到“定点爆破”,我国二线HER2阳性胃癌治疗迎来靶向ADC新突破
近日,优赫得®(注射用德曲妥珠单抗)正式获得中国国家药品监督管理局(NMPA)批准,单药用于治疗既往接受过一种含曲妥珠单抗治疗方案的局部晚期或转移性HER2阳性成人胃或胃食...
2026-01-29 18:54
资讯 18个区域,中医优势病种按病种付费试点地区明确
根据《关于开展中医优势病种按病种付费试点工作的通知》要求,国家医保局、国家中医药局组织专家对申报中医优势病种按病种付费试点的地区开展遴选,经相应程序,确定北京、河北...
2026-01-29 18:16
资讯 合成生物创新企业康诺生物递交港交所上市申请
康诺生物核心业务聚焦于线粒体功能障碍相关疾病的研究,专注于NAD+抗心血管疾病、NAD+抗生殖功能障碍、NAD+抗神经退行性疾病和NAD+抗衰老等领域的科学应用
2026-01-29 18:15










